A kiln for fiberglass cloth production



A kiln for the production of fiberglass cloth A kiln forglass fiber clothproduction This patent relates to a kiln for the production of glass fiber cloth, and relates to the techni…

A kiln for the production of fiberglass cloth

A kiln forglass fiber clothproduction

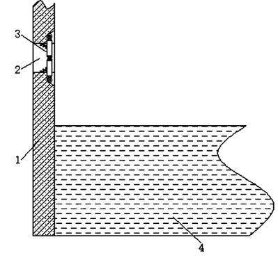
This patent relates to a kiln for the production of glass fiber cloth, and relates to the technical field of glass fiber cloth production. It includes a glass kiln, an observation hole is provided on the left side of the glass kiln, and the inner wall of the observation hole is provided with A shielding device is provided with molten glass inside the glass furnace. The shielding device includes a trapezoidal groove. The trapezoidal groove is provided on the inner wall of the observation hole, and the inner wall of the trapezoidal groove is fixedly connected with two rotating devices. The rotating device The outer wall of the device is provided with a U-shaped plate. This glass fiber cloth production kiln uses the joint action of the rotating shaft, bearings, U-shaped plates, baffles, contact blocks and springs to achieve the blocking of the observation holes and avoid some easily flying powder and other volatile materials. The material cools into a solid and blocks the observation hole, and it is conducive to the staff to observe the inside of the glass furnace through a thermal radiation lens and a laser thermometer, which brings great convenience to the staff.

What is silicone rubber coated fiberglass

Silicone rubber-coated glass fiber is based on high-temperature-resistant and high-strength glass fiber. The silicone rubber is attached to the surface of the glass fiber through a special process to form a high-performance, multi-purpose composite material. It has been widely used in aerospace, chemical industry, petroleum, large power generation equipment, machinery, metallurgy, electrical insulation, construction, transportation and many other fields.

640 (6).jpg

Extended application of silicone rubber coated glass fiber

640 (7).jpg

Glass fiber coated silicone rubber products are a new type of composite material that have been widely used in construction, electrical insulation, flexible pipeline connections, chemical anti-corrosion, sealing and other fields.

① Electrical insulation

Silicone rubber coated glass fiber membrane structural material has a high electrical insulation level and can withstand high voltage loads. It can be made into insulating cloth, casing and other products.

② Anti-corrosion

Silicone rubber coated glass fiber can be used as the internal and external anti-corrosion layer of pipelines and storage tanks. It has excellent anti-corrosion performance, good high temperature resistance and high strength. It is an ideal anti-corrosion material.

③ Other fields

Silicone rubber-coated glass fiber membrane structural materials can be used in building sealing materials, high-temperature anti-corrosion conveyor belts, packaging materials and other fields.

640 (9).jpg

④It can be used as a fireproof curtain. Flame-retardant silicone rubber is used to adhere to the surface of fiberglass through a special process, and it can be made into fiberglass fireproof cloth.

This article is from the Internet, does not represent 【www.pctextile.com】 position, reproduced please specify the source.https://www.pctextile.com/archives/37465

Author: clsrich

 
TOP
Home
News
Product
Application
Search