Humidification and drying of cotton seed cotton drying equipment



Humidification and drying of cotton seed cotton drying equipment There are many types of cotton drying equipment with different structures, but the basic principles adopted are mos…

Humidification and drying of cotton seed cotton drying equipment

There are many types of cotton drying equipment with different structures, but the basic principles adopted are mostly the same. They all use air as the medium. The air is heated first to increase the temperature of the air and reduce the relative humidity of the air. The heated air is then sent into the sub-cotton conveying system and the dryer, so that the flowing hot air contacts the sub-cotton, resulting in heat exchange, thereby evaporating the moisture in the cotton fiber. The evaporated moisture is absorbed by the hot air to achieve drying The purpose of stem cotton.
(1) Domestic drying equipment
1. Tower cotton dryer
Tower cotton dryer is a device specially designed to dry cotton. Its specifications vary from manufacturer to manufacturer. The general width is At 1.22~1.83m, the length is about 1.83m, 16~24 floors, and the height of each floor is 216~254mm, as shown in Figure 7-5.
The sub-cotton is fed into the pipe connected with the hot air through a special feeder. The sub-cotton is pressed into the cotton inlet on the top side of the tower dryer by relying on the air heated by the heater. Leisure from top to bottom. Heat exchange occurs during the contact between the cotton and the hot air, and the moisture evaporated from the cotton is sucked away by the hot air. After the sub-cotton reaches the bottom layer, it leaves the dryer with the hot air from the output port and enters the subsequent blowroom machine for continued processing.
The tower type cotton dryer has a simple structure, large cotton throughput and high productivity, so this type of cotton dryer has been used for decades. The speed of cotton in the conveying pipe is generally 2013~25.4m/s, while the speed in the tower cotton dryer is only 8.46~11.2m/s, which is reduced by more than half; the limit temperature of the tower dryer inlet is 176℃ , during normal use, the inlet temperature is about 120°C; its productivity is 5 to 10t per hour, which varies depending on the width, layer height, sub-cotton variety and hot air input of the cotton dryer.
According to statistics, the thermal efficiency of the tower cotton dryer is only about 16%. Therefore, during the drying process, in order to improve the cotton drying efficiency and reduce heat loss, if possible, the metal shell of the drying equipment , hot air ducts need to be insulated. The sub-cotton should be kept loose and even when fed and passed through the pipes and dryers so as to fully contact the hot air and improve drying efficiency.
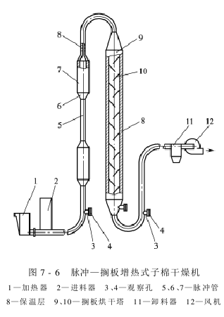
2. MGZ—B-type pulse-shelf heated cotton dryer
MGZ—B-type pulse-shelf (containing heating and thermal insulation shelves
layers) heated cotton dryer It is a combined cotton drying equipment.
It was successfully developed on the basis of learning from and introducing advanced technology from the United States and combining the characteristics of my country’s cotton finishing technology, as shown in Figure 7-6. A pulse dryer is combined in front of the shelf dryer to make full use of the high heat and mass transfer effect of the material in the acceleration section. The pulse air flow with alternately narrowing and expanding pipe diameters is used to strengthen the heat transfer and mass transfer speed and improve the utilization of heat energy. Rate. The drying part is divided into two parts: pulse and shelf. The pulse part consists of several sections of pipes with different diameters connected together and placed vertically. When the cotton is transported by the hot air, the speed will change with the different diameters of the pipes to achieve removal. For the purpose of moisture, the shelf part is similar to the tower dryer. After passing through the pulse part from bottom to top, the cotton enters the upper part of the shelf part, is laid layer by layer from top to bottom, enters the conveying pipe through the lower part, and is finally discharged by the discharge pipe. The device removes the cotton.

MGZ— Type B cotton dryer consists of drying host (drying tower), pulse dryer, cotton control box, heating system, insulation system, heating fan, insulation fan and connecting pipes.
The cotton is sent from the goods yard to the feed port of the cotton separator on the upper part of the cotton control box through the pneumatic conveying pipeline. After being discharged through the outlet of the closing air valve at the bottom of the cotton control box, it is mixed with the hot air of the heating system. Then it enters the drying pipeline, first passes through the pulse dryer, and then enters the tower body from the top entrance of the drying tower. The drying shelves and insulation shelves in the tower enable the cotton to be fully dried. The dried cotton enters the cotton separator on the upper part of the blower through the cotton outlet at the bottom of the tower. After the cotton and hot air are separated, it enters the blower. The waste hot air is purified by the dust collector and discharged, thereby completing all drying. process.
Except for the conveying pipe, the drying part of the machine is covered with magnesium silicate insulation material, so its thermal efficiency is very high. According to measurements, to remove 2% moisture, 11296.8kJ of heat is required for every 50kg of lint, while a tower dryer requires 46024kJ of heat.
The heat source of the MGZ-B type cotton dryer system can be a flue-separated coal-fired hot blast furnace, a thermal oil furnace or a steam boiler. You can choose any one according to different regional conditions.
3. Pulse-rotary drum combined cotton dryer
The biggest advantage of the pulse-rotary drum combined cotton dryer is that it can add the functions of randomly discharging dead cotton and removing impurities according to user needs. The disadvantages are that it occupies a large area, has a transmission mechanism, and has a high cost (but the price of the matching fan motor is low).
The pulse-drum combined cotton dryer is shown in Figure 7-7.

AAAEGRTHRTH

This article is from the Internet, does not represent 【www.pctextile.com】 position, reproduced please specify the source.https://www.pctextile.com/archives/38069

Author: clsrich

 
TOP
Home
News
Product
Application
Search